Сопла для 3D принтеров. Виды и разновидности
Содержание
- Назначение сопла.
- Разновидности по материалам.
- Разновидности по диаметру отверстий.
- Разновидности по конструкции.
- Вывод.
- FAQ.
Назначение сопла
Сопло - часть экструдера 3D принтера, внутри которой происходит нагрев и расплавление пластика до текучего состояния с последующим выдавливанием его из калиброванного отверстия на печатаемую поверхность. Представляет собой металлическую деталь с засверленным сверху внутренним отверстием диаметром чуть шире диаметра прутка филамента, которое сужается книзу до заданного характеристиками сопла диаметра. Чем тоньше отверстие, тем точнее печать по осям XY, но ниже поток пластика, а значит и скорость печати.
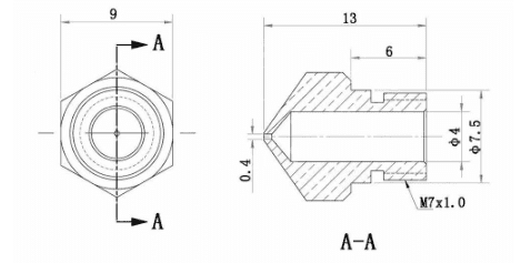
Пример чертежа сопла под редкий пруток 3,7 мм со стандартным выходным отверстием 0,4 мм.

Чаще всего, сопло представляет из себя монолит, реже попадаются составные изделия для особо сложных условий работы. Кажущаяся простота этой детали обманчива, от точности ее геометрии, качества обработки и материала результат в виде конечной печати зависит очень сильно. Малейший дефект форсунки или нагревательного канала может резко испортить изделие вплоть до полной негодности. На фото справа приведен пример сопла с искаженным нагревательным каналом. Такое отверстие, скорее всего, станет причиной застревания пластика на ретрактах, что будет особенно критично при высоких скоростях печати и температурах близких к минимальным. Наверняка, получим дефекты печати в виде пропуска слоев, отверстий и прочих неприятностей.

Также немаловажен правильный выбор материала сопла, который делается в зависимости от температуры расплава пластика, его абразивности и прочих физических свойств. Поговорим об этом подробнее.
Купить разные сопла для 3d принтера можно в нашем магазине https://3d-diy.ru/catalog/nozzle-3d-printer/
Разновидности по материалам
Латунные сопла. Самый распространенный материал для сопел принтеров, отлично подходящий для подавляющего большинства задач печати “обычными” не инженерными пластиками, такими как PLA, ABS, PETG, HIPS и тп. Латунь - сплав цинка и меди, обладает хорошей теплопередачей, достаточно высокой прочностью и термостойкостью при невысокой цене. Температура печати до 300 С.

Главный минус латуни - низкая износостойкость. Периодическое обновление латунного сопла требуется даже при работе со стандартными мягкими пластиками, так как в процессе эксплуатации даже от них выходное отверстие постепенно растрачивается теряя форму и размер. Чтобы замедлить этот процесс, следует использовать простые фильтры надеваемые на пруток, чтобы минимизировать попадания а зону печати абразивной пыли.

При работе с так называемыми “армированными” пластиками, то есть имеющие в своем составе металлические включения, углеродные или стеклянные волокна, латунное сопло растачивается катастрофически быстро. Сохранить рабочие свойства сопло не сможет и для половины стандартной килограммовой катушки.
Нержавеющая сталь. Второй по популярности материал для сопел 3D принтеров. Отличается в лучшую сторону от латунного высокой износостойкостью и термоустойчивостью. Может дольше печатать твердыми и композитными материалами без ухудшения характеристик. Хуже липнет к пластику, а значит менее вероятно образование пробок. Позволяет работать с тугоплавкими материалами. Температура печати до 500 С.

“Нержавейка” обладает меньшей теплопроводностью чем латунь, потому при печати рекомендуется слегка завышать температуру нагрева. Цена чуть выше латунного. Не содержит свинца, а значит безопаснее для печати посуды, игрушек и изделий медицинского назначения.
Закаленная сталь. Сопла из этого материала еще тверже нержавеющих, позволяют очень долго печатать композиционными материалами. Внешне отличаются от стальных темным “вороненым” цветом. Обладает низкой теплопроводностью, долго нагреваются и требуют температуры выше, чем оба предыдущие. Цена закаленных стальных сопел значительно выше, чем у латунных и нержавеющих. Температура печати до 500 С.

Карбид вольфрама. Сочетает в себе лучшие качества латунных и закаленных стальных сопел - твердость, износостойкость и высокую теплопроводность, однако существенно их дороже. В природе встречается нечасто, для приобретения, скорее всего, придется заказывать и ждать.

Биметалл. Попытка соединить разные материалы для основной детали и форсунки с целью оптимизации итоговых свойств. Дорогие и редкие, используются в специфичных хотендах.

Рубин и сапфир. Составные латунные сопла с рубиновыми или сапфировыми форсунками. Самые надежные и долговечные, подходящие для печати материалами любой абразивности и прочности. Благодаря латунному основанию, обладают высокой теплопроводностью и выдерживают температуру до 500 С. Единственными минусами является очень высокая цена и редкость.

Соберем основные физические свойства сопел из разных материалов в обобщающую таблицу.

Разновидности по диаметру отверстий
Обычно, диаметр сопла для любительской и полупрофессиональной печати варьируется от 0,1 до 1,0 мм. Самый востребованный размер - 0,4 мм. Отличие между ними в точности и скорости работы, которые обратно пропорционально зависят друг от друга.

Большое отверстие позволяет класть более широкую линию и развивать более высокую скорость печати. Теоретически, меньшее количество широких слоев крепче, чем большее количество узких, так как оставляют меньше пустот. Широким линиям легче даются отрицательные углы печати. Высоту слоя можно тоже сделать больше, что значительно ускорит процесс. То есть, одинаковые изделия, напечатанные соплом большего диаметра, в среднем, прочнее и массивнее.

Однако, чем больше диаметр сопла, тем меньше точность печати, что особенно заметно по мелким деталям и гладким поверхностям. Выбор диаметра сопла зависит от требований к детали, или это прочная “техничка” или изящное произведения искусства.

Разновидности по конструкции
Основных разновидностей не так уж много, всего несколько штук, однако бывают и редкие сопла-мутанты, которых упомянем ниже. Итак, начнем с самых распространенных.
E3D - самая популярная форма сопла. Крепежная резьба М6, гайка под ключ на 7, диаметр отверстия от 0.2 до 1.2 мм. Купив любой новый любительский 3D принтер, вы со 100% вероятностью обнаружите на нем сопло типа E3D, причем латунное, или его модификацию, например, более компактного размера.

Volcano - строго говоря, тоже представитель семейства E3D, но с удлиненной резьбовой частью. Выглядит вызывающе, немного отличается по свойствам и требует специальный нагревательный блок, а потому выделим его в отдельный вид.

За счет увеличенной длины, сильнее и быстрее прогревает пластик, а значит позволяет печатать на повышенных скоростях. Диаметр сопел Volcano, ввиду увеличенного потока материала, начинается с 0,4 мм и достигает 1,2 мм.
Super Volcano - для тех, кому мало. Еще более длинная версия Volcano, позволяющая, при прочих соответствующих условиях, достигать максимальных скоростей печати без потери качества. Разумеется, требует нагревательного особого блока собственной конструкции.

Далее коротко о мутантах разной степени удачности.
Сопло Ultimaker в монолите с нагревательным блоком. Идея интересная, вероятно, призванная обеспечить максимальную теплопередачу от нагревателя и исключить подтекание пластика. Однако, спорная с точки зрения ремонтопригодности, в случае износа выходного отверстия менять придется целиком, что сложнее, дольше и, скорее всего, дороже. Широкой популярности в массовом принтеростроительстве не получило.

Сопло со съемным наконечником, напротив призвано максимально облегчить жизнь любителям часто менять пластики и режимы печати. Не нужно менять сопло целиком, достаточно выкрутить наконечник и вкрутить другой с иным диаметром и/или из другого материала.


Сопло с собственным термобарьером. По сути это знакомый нам латунный или стальной закаленный Volcano укомплектованный термобарьером из нержавеющей стали или титана, с некоторыми доработками для плотного соединения такого вот составного биметаллического сопла. Преимущество в том, что пространство между соплом и термобарьером представляет собой не просто стык, как у других конструкций, а соединение вал-втулка, что практически полностью исключает щели и возможность пластику в них выдавливаться. Попадающий между соплом и барьером пластик может стать причиной пробки, устранить которую можно лишь полной разборкой хотэнда. Сталь, а тем более титан, обладает плохой теплопроводностью, поэтому перепад температуры внутри термобарьера происходит довольно резко, что нам и нужно. Такое сопло не только долговечно само по себе, но и не требует регулярной замены стандартной тефлоновой трубки. Цена в два-три раза больше стандартного Volcano, к тому же потребуется замена всего хотэнда.


Двух- и трехканальные сопла. Изящное решение для создания принтеров, печатающих двумя и тремя пластиками одновременно без остановки и замены печатной головки. Разумеется, потребуется специальный нагревательный блок и три механизма подачи, а также необходимые дополнения в программном обеспечении. Несмотря на высокий расход пластика на прочистку сопла при смене филамента, возможно, является самым экономичным вариантом за счет простоты конструкции.

Вывод
Сопло - важный элемент хотенда в частности и 3D принтера в целом. Правильный выбор сопла позволит добиться качественной бесперебойной печати на протяжении длительного времени, а ошибки могут стать причиной дефектов или вовсе загубленных деталей, поводом для переживаний, лишних трудозатрат и испорченных материалов. Вдумчиво подходить к выбору сопла и регулярно следить за его состоянием, обязательная составляющая забот каждого 3D печатника, для чего ему следует быть осведомленным о свойствах, разновидностях и особенностях сопел.
С подавляющим большинством задач легко справится “обычное” латунное сопло, главное чтобы оно было качественное и не изношенное. Если же вы работаете с тугоплавкими и композитными пластиками, присмотритесь к соплам из более твердых материалов, разумеется, не забывая корректировать под них параметры печати.
FAQ
Как часто следует менять сопло?По мере износа. Увеличенный диаметр или изменение формы скажется на качестве печати, что легко заметить невооруженным глазом.
Надо ли чистить сопло от загрязнений?
Если долго печатать в пыльном помещении без использования фильтра на прутке, сопло когда-нибудь забьется полностью или частично. Это будет выглядеть как недоэкструзия или пробка. Подающий механизм напрягается и щелкает пропуская шаги, при этом струя из сопла либо отсутствует совсем, либо вытекает гораздо тоньше чем надо. Для очистки есть несколько способов, например, при помощи остывающего прутка или специальных игл. Если ничего не помогает, остается заменить сопло на новое.
В каком порядке производится замена сопла?
- Нагреваем хотэнд до рабочей температуры,
- вытягиваем пруток из сопла,
- придерживая термоблок аккуратно выкручиваем сопло,
- придерживая термоблок вкручиваем новое сопло, затягиваем от руки без особого усилия,
- настраиваем высоту стола (при необходимости),
- заправляем пруток в сопло, пока пластик не потечет из него ровной струей.
Можно ли использовать разные виды сопел на моем принтере?
Если вопрос про материал, то конечно да, главное, чтобы размер резьбового соединения совпадал с вашим нагревательным блоком. В некоторых случаях можно даже использовать сопа других конструкций, например Volcano, не забыв отрегулировать высоту стола, правда, в этом случае будет неправильный обдув и много чего еще, но как временный вариант вполне работоспособен.
Можно ли использовать дорогие твердосплавные и рубиновые сопла для печати “обычными” пластиками типа PLA и PETG?
Конечно можно. Правда, смысла специально покупать и устанавливать такие сопла нет никакого, если вы регулярно не используете абразивные материалы. И наоборот, если у вас установлено рубиновое сопло, нет смысла менять его на латунное, каждый раз, когда собрались напечатать что-то из PLA.
Товары из статьи
Это интересно
- Комментарии





















